Projekt Azalia 2


Projekt domu Azalia 2

Charakterystyka projektu

  • Dom jednorodzinny z poddaszem użytkowym i garażem, który można dobudować później
  • Na parterze znajduje się dodatkowy pokój
  • Na poddaszu zaprojektowano trzy sypialnie, łazienkę i garderobę.
autor: arch. Maciej Matłowski tel: 085-740-87-53

Dane techniczne

Pow. użytkowa domu: 114.09 m2
Pow. użytkowa garażu: 18.99
Pow. piwnicy: brak
Pow. zabudowy: 112.77 m2
Pow. dachu: 205.00 m2
Kubatura: 531.00 m3
Wysokość w kalenicy: 9.04 m
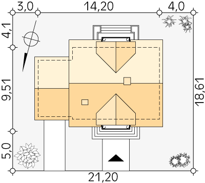
Gabaryty działki: 21.20 x 18.61 m

Rzuty

Parter

Rzut parteru projektu domu Azalia 2

Poddasze / Pierwsze piętro

Rzut parteru projektu domu Azalia 2

Elewacje

Elewacja 1 projektu domu Azalia 2 Elewacja 2 projektu domu Azalia 2 Elewacja 3 projektu domu Azalia 2 Elewacja 4 projektu domu Azalia 2

Usytuowanie na działce

Usytuowanie na działce projektu domu Azalia 2 - wizualizacja usytuowania

Schemat przekroju

Przekrój projektu Azalia 2 - przekrój